阅读次数:1562次发布时间:2021-03-22
来源:弱电行业网
弱电常用设备品牌有哪些?在我们弱电VIP技术群中经常有不少朋友会问起,本期我们总结八类大家平时问的比较多的设备品牌厂家。
一、网络机柜品牌...
阅读次数:869次发布时间:2021-03-08
来源:跟丹姐玩转招投标
大部分时候,投标人的信用评价结果往往会与招标投标挂钩,越来越多的招标单位将信用评价综合得分作为评标条件的重要依据之一。而影响到信用评价的因素也有很...
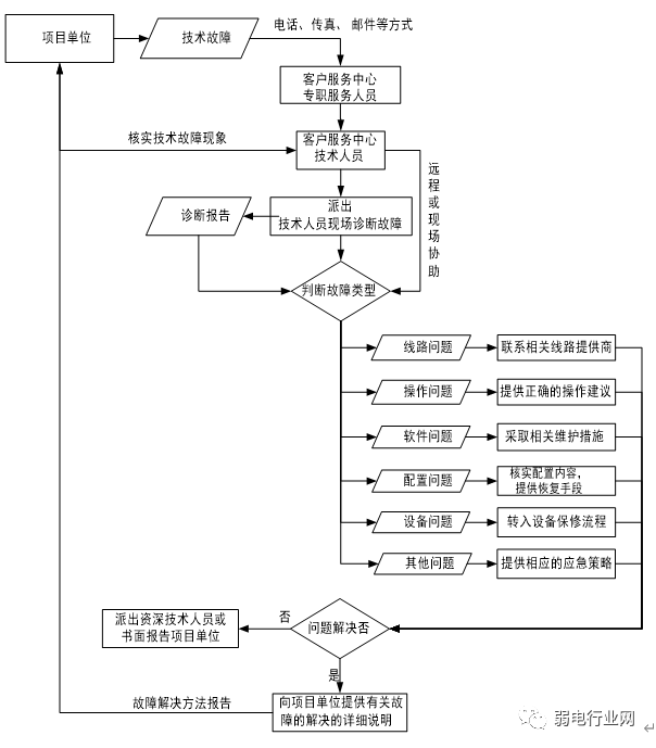
阅读次数:826次发布时间:2021-03-04
来源:弱电行业网
有不少朋友问到关于弱电智能化运维方案主要有哪些内容?如何拟定智能化运维方案, 这个尤其是对于弱电项目经理,是经常会遇到的相关的项目,本期我们来看下智能化运维方案如...
阅读次数:831次发布时间:2021-02-08
来源:跟丹姐玩转招投标
有人认为投标是一项工作量大、专业性强的任务;也有人认为招投标存在很多的猫腻。在此,先排除人为干扰因素,跟大家分享几点能够提高中标可能性的技巧。
...
阅读次数:822次发布时间:2021-01-25
来源:弱电行业网
不少朋友一直留言问到关于监控维保工作如何开展?其实主要还是原因还是有部分弱电人对监控维护的具体事项与细节了解不多,不知从何下手,在我们弱电VIP技术群中也经常讨论到...
阅读次数:775次发布时间:2021-01-15
来源:招标采购那些事儿
由中国公共资源交易跨区域合作联盟主办的“第五届中国公共资源交易跨区域合作联盟主任年会”在杭州召开。
2020年是不平凡的一年,突如其来的疫情打断了...
阅读次数:747次发布时间:2020-12-28
来源:弱电行业网
12月22日,国家广电总局广播电视科学研究院在湖南省长沙市举行了“智慧广电联盟第三次全体会议暨技术研讨会”,会上透露, 中国广电5G预计将于2021年建设...



















